跳转到主要内容

可调节座椅专利技术解析

日期: 栏目:行业新闻 浏览:

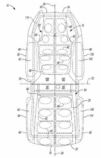
本站讯 据外媒报道,通用汽车公司已提交一项汽车座椅系统专利申请,该系统允许用户调节座椅尺寸。该专利申请的专利号为US 2025/0376097 A1,于2025年6月6日提交至美国专利商标局(USPTO)。相关文件于2025年12月11日公布,并列出了多位美国工程师作为发明人,包括Edward T. Kucynski、Daniel J. Ridgeway、Bonita J. Thomas、Jill M. Green、Matthew R. Cwynar、Matthew Isakson、Lindsay J. Nault、Marielle L. Day和Victoria F. Streberger。

根据专利描述,通用汽车的这项座椅系统能够自动主动地调节座椅的尺寸和舒适度,以更好地贴合驾乘人员个体需求。该系统的核心部分是位于座椅框架和座椅表面之间的特殊舒适层。该舒适层采用一个或多个可调节气压的气囊,并结合泡沫材料,使座椅在使用过程中能够改变形状、软硬度和支撑区域。

通用汽车申请尺寸可调节座椅专利

标签: